Turinys
Sienos šiltinimas, kai langas tvirtinamas sienos konstruktyve
Sienos šiltinimas, kai langas tvirtinamas prie išorinio sienos paviršiaus
Sienos šiltinimas, kai langas talpinamas šiltinimo sluoksnyje
Angokraščių šiltinimas – tai langų angos kraštų, šonų, viršaus ir apačios apšiltinimas , kad per tas vietas neišeitų šiluma ir nesusidarytų šalčio tiltai.

Tinkamas šiltinimas leidžia iki minimumo sumažinti šilumos nuostolius per angokraščius.
Angokraščiai yra viena dažniausių vietų, kur prarandama šiluma, jei langas sumontuojamas be papildomos izoliacijos. Vieni skaičiuoja, kad šilumos nuostoliai per lango ir konstruktyvo jungties siūlę yra penkiskart didesni nei per konstruktyvą, kiti - kad šie nuostoliai sudaro apie 30 proc. visų pastato šilumos nuostolių. Faktas tas, kad šilumos nuostoliai angokraščiuose yra dideli. Kaip sumažinti šilumos praradimą per langus? Kokius gaminius pasirinkti ir kokią montavimo technologiją naudoti, kad angokraščiai būtų šilti?

Ilginiai šiluminiai tilteliai aplink langą labai gerai matomi termovizinėje nuotraukoje.
Angokraščių termoizoliacija
Rengiant A ar aukštesnės klasės pastato projektą, reikalinga įvertinti ilginius šilumos tiltelius. Ilginis šilumos tiltelis apskaičiuojamas kompiuterinėmis programomis pagal tam tikrą formulę ir žymimas Ψ (W/(m K). Ilginio šilumos tiltelio dydis priklauso nuo lango šiluminių parametrų, montavimo vietos ir perimetro apšiltinimo.
Spręsti apie lango ar durų šiluminius parametrus nesudėtinga - langų ir durų gamintojai pateiktose deklaracijose nurodo šilumos perdavimo koeficientus. Tiesiog reikia pamiršti langus, kurių U vertė viršija 1 W/kv.m K. Langų profiliai su plieno armuote irgi jau neatitinka šių dienų reikalavimų. Galima sieną apšiltinti ir 30 cm storio pilkojo putplasčio plokštėmis, bet, jei sumontuotas vitrininis langas, kurio U vertė yra 1,3, tai per lango angą žiemą bus prarandama šiluma, nors siena ir storai apšiltinta. Rekomenduojama naudoti stiklo pluoštu armuotus langų profilius, kurie yra daug tvirtesni už plastiką, turi geras šilumines bei garso izoliavimo savybes. Į profilių kameras papildomai dedamas specialus pašiltinimas - išfrezuotas polistireninio putplasčio įdėklas. Tai papildoma termoizoliacija, leidžianti iki minimumo sumažinti ilginį šilumos tiltelį ir šilumos praradimus per lango rėmą.
Antra problema - lango instaliavimo vieta ir jo perimetro apšiltinimas. Pasirinkus net ir labai šiltą langą, tačiau netinkamą montavimo schemą, šilumos nuostoliai, patiriami per lango angokraštį, gali būti didesni už tuos, kurie patiriami per visą lango plotą.
Sprendžiant šias problemas verta įsiklausyti į termoizoliacinių medžiagų gamintojų rekomendacijas. UAB „Kauno šilas" inžinieriai yra parengę konstrukcinius sprendimus, leidžiančius iki minimumo sumažinti šilumos nuostolius palei angokraščius. Apžvelgsime tris būdus, kaip gali būti montuojami langai ir apšiltinama siena:
Sienos šiltinimas, kai langas tvirtinamas sienos konstruktyve.
Sienos šiltinimas ties langu, kai langas tvirtinamas prie sienos konstruktyvo išorinio paviršiaus.
Sienos šiltinimas ties langu, kai langas talpinamas šiltinimo sluoksnyje.
Angokraščių apšiltinimas
Lango angokraščio šiltinimas sumažina šilumos nuostolius aplink langą, neleidžia kauptis kondensatui ir apsaugo kampus nuo pelėsio susidarymo. Tinkamai atliktas šiltinimas pagerina lango sandarumą ir padeda mažinti šildymo sąnaudas.
Angokraščiai šiltinami iš lauko kartu su fasado šiltinimu. Šiltinimas iš vidaus taikomas tik tada, kai nėra galimybės apšiltinti pastato iš išorės.
Kaip atliekamas angokraščio šiltinimas
Langas sumontuojamas, o montavimo tarpai užpildomi montažinėmis putomis.
Kruopščiai užsandarinamas tarpas tarp lango rėmo ir sienos, kad neliktų oro pratekėjimo.
Ant angokraščio, naudojant klijavimo putas, klijuojama 2–3 cm storio šiltinimo juosta „Šiloporas Neo EPS 100“.
Šiltinimo sluoksnis armuojamas tinkleliu.
Paviršius užtinkuojamas ir padengiamas fasado spalvos dekoratyviniu tinku.
Šiltinimo juosta „Šiloporas Neo EPS 100“ pasižymi gera šilumine varža, pakankamu atsparumu gniuždymui ir mažu vandens įgeriamumu, todėl tinkama naudoti angokraščiuose.
Svarbu laikytis technologijos: šiltinimo sluoksnis turi uždengti lango rėmą 2–3 cm. Taip panaikinami šalčio tiltai ir užtikrinamas sandarumas.
Sienos šiltinimas, kai langas tvirtinamas sienos konstruktyve
Tai tradicinis ir senas langų ir durų montavimo būdas, bet jis yra ir šalčiausiais, nors, laikantis rekomendacijų, ilginį šilumos tiltelį galima sumažinti.

Angokraščių šiltinimas, kai langas sienos konstruktyve, naujoje statyboje jau naudojamas retai, daugiausia praktikuojamas renovacijoje.
Dabar šis montavimo būdas daugiausia taikomas renovuojamuose daugiabučiuose, individualiuose namuose, kai nauji langai montuojami senųjų langų vietoje. Tai mažiausiai darbo ir išlaidų reikalaujantis sprendimas, bet ilginis šilumos tiltelis Ψ yra 0,45-0,50.

Sienos šiltinimas ties renovuojamo pastato lango nuolaja.
1 – Siena;
2 – Langas;
3 – Klijai;
4 – Šiloporas Neo EPS 70;
5 – Smeigė ir polistireninio putplasčio tabletė;
6 – Sandarinimo putos;
7 – Nuolajos laikiklis;
8 – Nuolaja;
9 – Elastinis hermetikas;
10 – Garo izoliacija;
11 – Plonasluoksnis armuotas tinkas;
12 – Išsiplečianti tarpinė;
13 – Vidaus palangė.

Sienos šiltinimas ties renovuojamo pastato lango angokraščiu.
1 – Siena;
2 – Langas;
3 – Klijai;
4 – Šiloporas Neo EPS 70;
5 – Smeigė ir polistireninio putplasčio tabletė;
6 – Šiloporas Neo EPS 100 intarpas;
7 – Kampuotis su tinkleliu;
8 – Apsauginis profiliuotis;
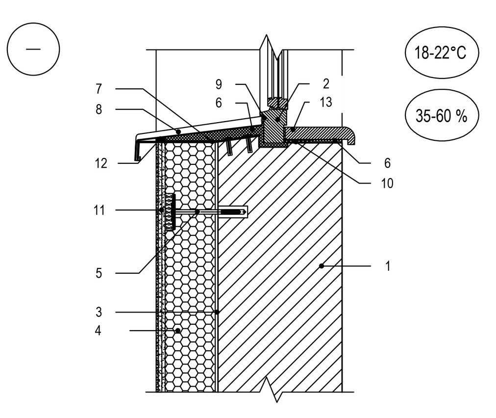
Sienos šiltinimas ties renovuojamo pastato lango viršulangiu.
1 – Siena;
2 – langas;
3 – Klijai;
4 – Šiloporas Neo EPS 70;
5 – Smeigė ir polistireninio putplasčio tabletė;
6 – Sandarinino tarpinė;
7 – Šiloporas Neo EPS 100 intarpas;
8 – Kampuotis su tinkleliu;
9 – Apsauginis profiliuotis;
10 – Plonasluoksnis armuotas tinkas.
Sienos šiltinimas, kai langas tvirtinamas prie išorinio sienos paviršiaus
Tai populiariausias ir ekonomiškas naujai statomų namų lango montavimo būdas, bet jis įmanomas tik kartu su sienos apšiltinimo darbais.
Langas tvirtinimo laikiklių pagalba montuojamas prie pat termoizoliacinio sluoksnio. Šiuo atveju gaunama ilginio šilumos tiltelio vertė yra Ψ=0,2, o tai jau didelė pažanga mažinant šilumos nuostolius.

Sienos šiltinimas ties lango nuolaja, kai langas montuojamas prie šiltinamos sienos išorinio paviršiaus.

Sienos šiltinimas ties lango angokraščiu, kai langas montuojamas prie šiltinamos sienos išorinio paviršiaus.

Sienos šiltinimas ties viršulangiu, kai langas tvirtinamas prie šiltinamos sienos išorinio paviršiaus.
Problema ta, kad ne visi fasadų šiltintojai nori ir moka taip apšiltinti langus, o langų montuotojai to darbo nesiima - įstato langus ir viso gero. Šiuo atveju reiktų iš anksto pasidomėti, ar sienų šiltintojai galės tinkamai apšiltinti langų rėmus, nes tai gana kruopštus ir laiko reikalaujantis darbas.
Sienos šiltinimas, kai langas talpinamas šiltinimo sluoksnyje
Langų montavimą tik šiltinimo medžiagos sluoksnyje turėtų naudoti naujų šiuolaikinių pastatų statytojai, norintys pasiekti aukštą energinio efektyvumo klasę. Kai langas tvirtinamas izoliacinėje medžiagoje, Ψ vertė yra apie 0,1. Šis langų montavimo būdas vizualiai patrauklesnis, dažniausiai tokį langų montavimo būdą siūlo architektai, argumentuodami tuo, kad, priartinus langus prie pastato išorinio paviršiaus, pasiekiamas estetiškesnis architektūrinis vaizdas, langai nenutolsta nuo sienų išorės, pro juos į vidų patenka daugiau šviesos. Tačiau toks langų montavimas reikalauja daugiau darbo, aukštesnės kvalifikacijos specialistų, didesnių investicijų.
Dažniausiai lango montavimui termoizoliaciniame sluoksnyje naudojami profiliai, pagaminti iš sutankinto poliuretano pagrindu gaminamos medžiagos, kuri turi didelį standumą, geras šilumos izoliacijos savybes, laidi garams, neįgeria vandens. Medžiaga lengva ir lengvai pjaustoma.
Profiliai pjaustomi statybvietėje ir prie bet kokios konstruktyvo medžiagos ar langų rėmų klijuojami ir tvirtinami varžtais. Dėl savo elastingumo jie gerai priglunda prie sienos, tad galimi nežymūs sienos nelygumai.
Pagrindinis tokio langų montavimo būdo trūkumas - didesnė kaina, kuri sunkiai atsipirks net ir įvertinus sumažėjusius šilumos nuostolius.
Kitas lango montavimo termoizoliaciniame sluoksnyje būdas - naudoti specialius tvirtinimo laikiklius, pagamintus iš stiklo pluošto ir turinčius mažą šilumos laidumo koeficientą. Nors laikikliais dažniausiai tvirtinama nedidelių gabaritų ir riboto svorio langai, Lietuvos rinkoje jau yra laikiklių iš stiklo pluošto, pagamintų pagal naujausias technologijas. Tokie laikikliai suteikia neribotas galimybes konstruktoriams, architektams projektuoti bet kokio dydžio langą ir tvirtinti bet kurioje šiltinimo sluoksnio vietoje.
Sienos šiltinimas ties lango nuolaja, kai langas talpinamas šiltinimo sluoksnyje.

Sienos šiltinimas ties lango angokraščiu, kai langas talpinamas šiltinimo sistemoje.

Sienos šiltinimas ties viršulangiu, kai langas talpinamas šiltinimo sistemoje.
Visgi tvirtinimo laikikliai yra pigesnis sprendimas nei specialūs profiliai, svarbu tik laikiklius uždengti didesnio stiprio EPS 200 juostomis. O kai lango tvirtinimo laikiklis-ankeris yra iš lygios stiklo pluošto plokštelės be reguliuojamos atramos, vietoj EPS 200 galima naudoti montavimo-sandarimo putas.
UAB „Kauno šilas" informacija ir brėžiniai